德國發明102024102250
美國商標7842169
第21類 桌墊相關
第21類 桌墊相關
英國發明專利2631266
台灣新型M676598
一種自行車車架與氫氣瓶之組合結構,該結構將自行車車架管件替換為纖維全纏繞氫氣瓶,使其同時具備儲氫與支撐負載功能;透過結構整合減少零件、簡化組裝並提升空間效率,展現高度整合優勢。
一種自行車車架與氫氣瓶之組合結構,該結構將自行車車架管件替換為纖維全纏繞氫氣瓶,使其同時具備儲氫與支撐負載功能;透過結構整合減少零件、簡化組裝並提升空間效率,展現高度整合優勢。
台灣設計D237970
本創作係提供一過濾器,尤指一種過濾水質專用的水池過濾器。
本創作係提供一過濾器,尤指一種過濾水質專用的水池過濾器。
一山市集MOUNTONE及圖
第35類 廣告行銷
第35類 廣告行銷
明璃AKARi LiFE TOKYO 及圖
第05類 營養補充品
第05類 營養補充品
台灣發明I887040
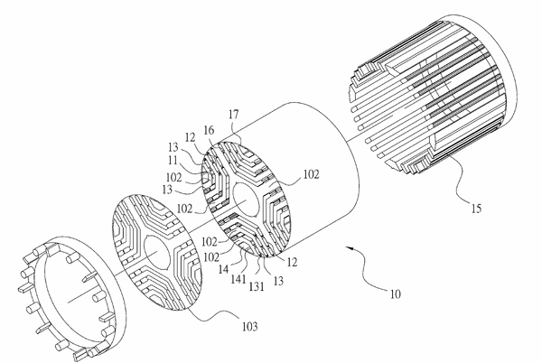
一種自啟動同步磁阻電機及其轉子,該電機轉子利用三類開槽形成導磁路徑,並於q軸設置特定比例的梯形孔;透過孔內導電體於外周緣形成環狀結構,有效結合磁障設計與導電特性,兼顧自啟動能力與運作效率。
一種自啟動同步磁阻電機及其轉子,該電機轉子利用三類開槽形成導磁路徑,並於q軸設置特定比例的梯形孔;透過孔內導電體於外周緣形成環狀結構,有效結合磁障設計與導電特性,兼顧自啟動能力與運作效率。
台灣發明I900054
一種全口植牙重建之術前植體位置智慧型評估方法,該方法透過CT掃描建立顎骨模型,利用雙AI模組分析大數據並套用力學模型,自動產生具咬合應力分析的植牙方案,提供醫師智慧化的術前評估參考。
一種全口植牙重建之術前植體位置智慧型評估方法,該方法透過CT掃描建立顎骨模型,利用雙AI模組分析大數據並套用力學模型,自動產生具咬合應力分析的植牙方案,提供醫師智慧化的術前評估參考。
台灣發明I879424
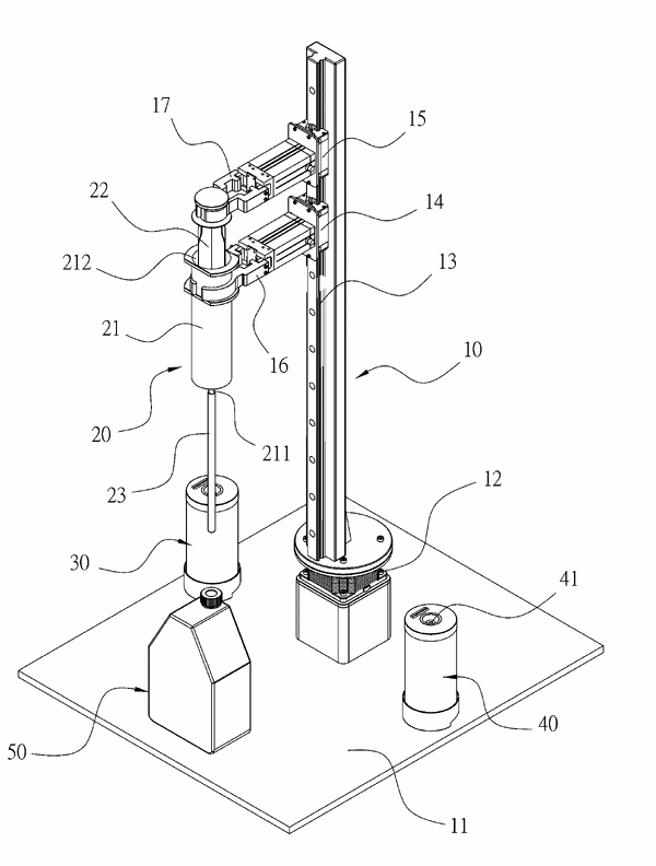
一種能避免互相污染的細胞培養瓶換液系統,該系統透過步進馬達驅動滑軌與夾臂,控制拋棄式換液筒與推桿移動;藉由自動更換接觸液體的容器,達到自動化換液並徹底消除細胞交叉污染之功效。
一種能避免互相污染的細胞培養瓶換液系統,該系統透過步進馬達驅動滑軌與夾臂,控制拋棄式換液筒與推桿移動;藉由自動更換接觸液體的容器,達到自動化換液並徹底消除細胞交叉污染之功效。
台灣發明I817868新型M639867
一種氫能源發電系統,氣瓶模組以連結槽組合於連結條,讓連通管相通導流管,即能透過該連結條快速固定該氣瓶模組,藉此選用不同規格的多個該氣瓶模組排列裝設於任意規格的該儲能櫃內。
一種氫能源發電系統,氣瓶模組以連結槽組合於連結條,讓連通管相通導流管,即能透過該連結條快速固定該氣瓶模組,藉此選用不同規格的多個該氣瓶模組排列裝設於任意規格的該儲能櫃內。
築空域所
第41類,第42類
第41類,第42類
專利師介紹
資深專利師
林永昌
Lin Yong Chang
現任 Incumbent
- 大發國際專利商標事務所所長
- 中華民國專利師公會會員
- 專利師公會智慧財產法院實務委員會委員
- 專利師公會商標實務委員會委員
- 台中市中心區BNI全勝分會會員
證書 License
- 專利師證書專證字第A0820號
- 智慧財產人員能力認證-專利程序控管類
- 智慧財產人員能力認證-專利技術工程類
- 檢定職類乙級汽車修維技術士證
經歷 Experience
- 三多國際專利商標事務所-專利工程師、專利業務
- 德鼎樞紐國際智慧財產事務所-專利部經理
- 明德國際專利商標聯合事務所-專利業務
專長領域 Expertise
- 機械工程、自動化控制、2D3D工程製圖
- 專利檢索、稿件撰寫、爭議案撰寫、專利侵權鑑定
- 專利佈局、申請、申復、舉發、答辯、管理、訴願、行政訴訟
- 商標佈局、申請、申復、管理、異議、評定、廢止、訴願、行政訴訟